株式会社パトライト 公式オンラインショップ


(重要)返品・交換不可商品
※10個単位の販売となります。
 カートに1個入れていただきますとお手元に10個の電球を
 お届けします。
 (製品に同梱される納品書の数量には、10と印字されます。)

◇電球交換方法

注意


●必ず電源を切って、電球の熱が充分に下がってからおこなってください。

[ 手順 ]
①電源を切ります。(スイッチOFFにする)
②製品からグローブを取り外します。
③電球を下方へ押し、左方向へ回し取り外します。
④新しい電球を下方へ押し、右方向へ回し取り付けます。
⑤取り外したグローブを取り付けます。

※ボディに取り付けられているOリングは、必ず再利用または劣化により亀裂や
 断裂が発生した場合は、防滴構造に支障をきたしますので、交換をおこなって
 ください。
 Oリングは摩耗や劣化・疲労がないか定期的に確認・点検してください。


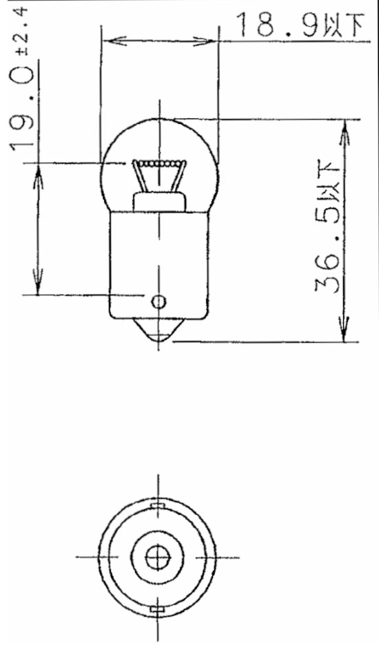
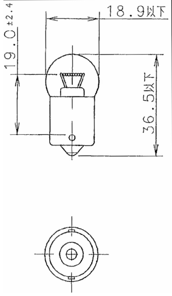
【 仕様 】

↑ページトップ↑

補修パーツ 白熱電球24V10W
(重要)返品・交換不可商品
白熱電球:
24V10W
電球形状G18/BA15S

商品番号 bulb24V10W_
¥ 11,286 税込
型式
  • D02401003A-F1

お問い合わせ

  • 特長・仕様
  • 外観図

単位 [ mm ]