株式会社パトライト 公式オンラインショップ

[ 対応機種 ]
 CLK□-02□N-□型


[ 取付方法 ]

  ① LEDワークライト本体にブラケット(SZW-305)を取り付けます。
    下図のように付属のブラケット取付ねじ4本で取り付けます。
    推奨締付トルクは、1.4N・mとしてください。

  ② 十分に強度のある平坦な取付面に、ねじ孔加工後、製品を取り付けます。
    下図のようにM5のねじで締付けてください。
    推奨締付トルクは、2.8N・mとしてください。



[ 取付状態参考図 ]


[ 仕様 ]


↑ページトップ↑

LEDワークライト用
オプションブラケット 背面取付け用
SZW-305:
CLK-02型LEDワークライト用オプションブラケット

商品番号 SZW-305_
¥ 1,980 税込
型式
  • SZW-305 在庫なし
在庫:×

お問い合わせ

¥2,200円(税込)

  • 特長・仕様
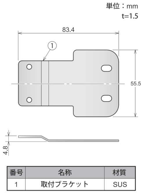
  • 外観図